万达,再被执行超1.8亿元!

作 者丨孙永乐
编 辑丨曾静娇 黎雨桐
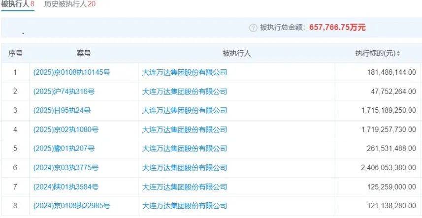
4月15日,南财快讯记者从天眼查获悉,近日, 大连万达集团股份有限公司、万达地产集团有限公司等新增一则被执行人信息,执行标的1.8亿余元,执行法院为北京市海淀区人民法院。

资料显示,大连万达集团股份有限公司成立于1992年9月,法定代表人为王健林,注册资本10亿人民币,经营范围包括商业地产投资及经营、酒店建设投资及经营、连锁百货投资及经营等,由大连合兴投资有限公司、王健林共同持股。
风险信息显示, 该公司现存多条被执行人及股权冻结信息,被执行总金额高达65.78亿元。

展开全文

万达上个月刚新增80亿元股权冻结
值得注意的是,此前3月20日,天眼查深度风险信息显示, 北京万达文化产业集团有限公司新增1条股权冻结信息,被执行人为大连万达集团股份有限公司,冻结股权数额80亿人民币,冻结期限自2025年3月18日至2028年3月17日,执行法院为河南省郑州市中级人民法院。
资料显示,北京万达文化产业集团有限公司成立于2012年9月,法定代表人为张春远,注册资本80亿人民币,经营范围包括文化产业项目投资、企业管理咨询、经济贸易咨询等,由大连万达集团股份有限公司全资持股。这意味着,此次法院将其持有的全部股权进行了冻结。

万达集团已卖掉多个万达广场
南财快讯记者注意到, 为缓解债务压力,万达集团2025年已先后出售多个万达广场。
3月25日,天眼查显示,徐州万达广场有限公司发生工商变更,大连万达商业管理集团股份有限公司退出股东,新增广东横琴粤澳深度合作区宽和商业管理有限公司为全资股东,同时法定代表人等发生变更。
据不完全统计,2025年开年以来,新华保险已连续五次出手,先后接盘了宣城、铜陵、安阳、四平、扬州5座万达广场。 截至4月15日,新华保险通过坤华股权投资间接持股,已接手14家万达广场。

(声明:文章内容仅供参考,不构成投资建议。投资者据此操作,风险自担。)
SFC
本期编辑 黎雨桐









评论